Overview

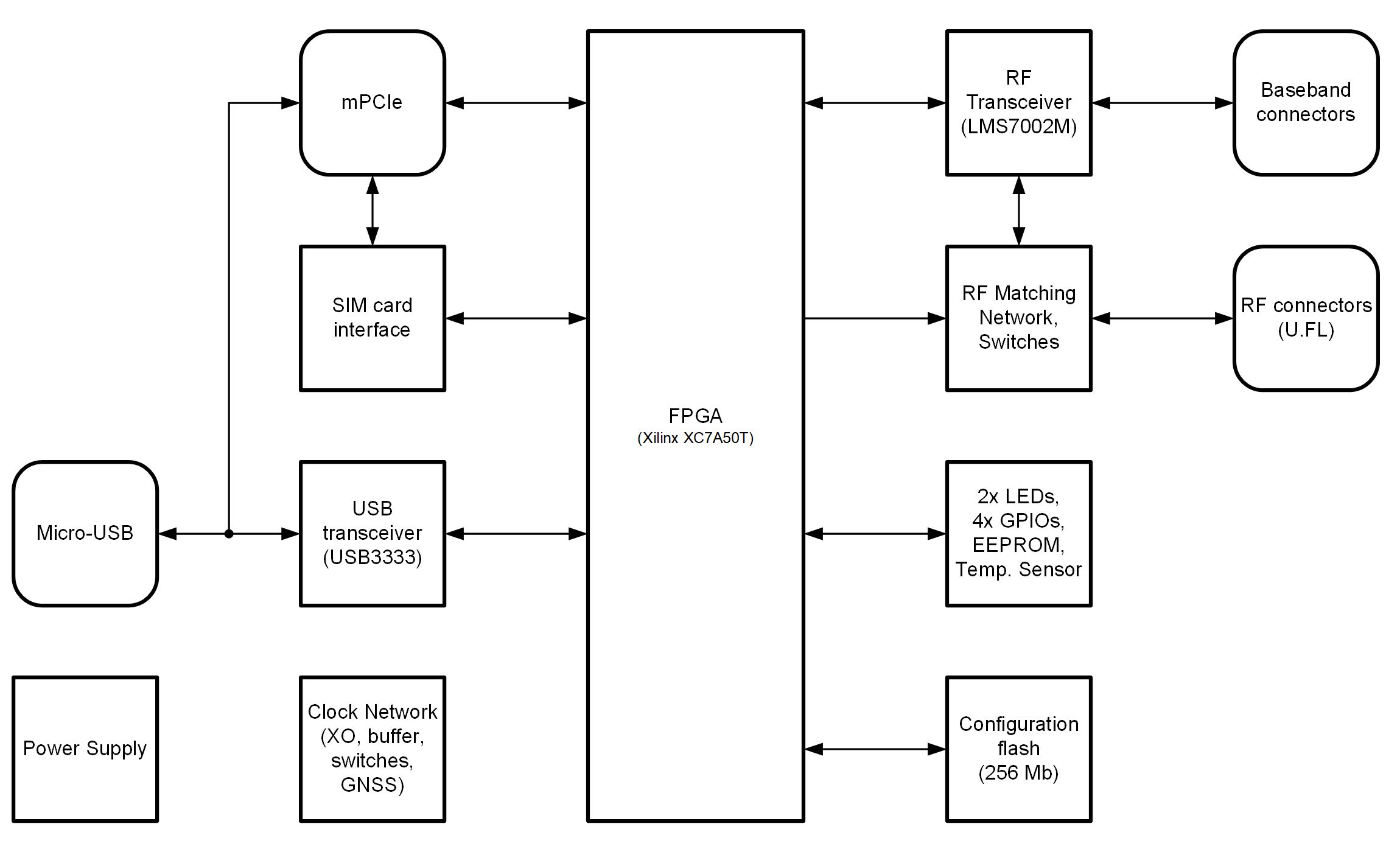
One of the key elements of LimeSDR XTRX board is the Xilinx Artix-7 (XC7A50T-2CPG236I) FPGA, the main function of which is to transfer digital data between the LMS7002M RF transceiver and an attached host via PCIe, or via connection to another FPGA board. The block diagram for LimeSDR XTRX board is presented in the Figure 3.

../../_images/LimeSDR-XTRX_v1.3_diagrams_BD.png

Figure 3: LimeSDR XTRX v1.3 board block diagram

This section contains component location description on the board. LimeSDR XTRX board picture with highlighted connectors and main components are presented in Figure 4 and Figure 5, respectively.

../../_images/LimeSDR-XTRX_v1.3_components_top.png

Figure 4: LimeSDR XTRX v1.3 board top connectors and main components

../../_images/LimeSDR-XTRX_v1.3_components_bot.png

Figure 5: LimeSDR XTRX v1.3 board bottom connectors and main components

Description of board components is given in the Table 1.

Table 1. Board components

Featured Devices

Board Reference

Type

Description

IC1

RF transceiver

Lime Microsystems LMS7002M

IC7

FPGA

Xilinx Artix-7(XC7A50T-2CPG236I)

IC19

USB 3.0 microcontroller

Microchip USB 2.0 to transceiver chip USB3333E-GL

Miscellaneous devices

IC9

IC

Temperature sensor TMP1075NDRLR

IC16

IC

SIM Card Interface NVT4555UKZ

Configuration, Status and Setup Elements

X9

JTAG chain connector

FPGA programming connector on the PCB bottom side

(compatible with Molex 788641001 connector)

LED1, LED2

Status LEDs

User defined FPGA indication LEDs

General User Input/Output

X12

FPC connector

8-pin FPGA GPIO connector

Memory Devices

IC2

IC

I²C EEPROM Memory 128Kb (16 x 8), connected to LMS7002M RF transceiver I2C bus

IC13

IC

I²C EEPROM Memory 128Kb (16K x 8), connected to FPGA I2C bus

IC18

IC

SPI Flash Memory 256 Mb (32M x 8) connected to FPGA SPI

Communication Ports

X11

USB 2.0

USB 2.0 Micro-B socket

X10

mini PCIe

mini PCI Express Card Edge connector

Clock Circuitry

XO1

VCTCXO

26.00 MHz Voltage Controlled Temperature Compensated Crystal Oscillator

IC17

IC

16 bit DAC for VCTCXO (XO1) frequency tuning (default)

IC11

IC

GNSS Receiver module

IC8

IC

Clock buffer LMK00105

IC15

IC

Analogue switch

IC20

IC

Analogue switch

X7

U.FL connector

Reference clock input/output (CLK)

X6

U.FL connector

1PPS input

X5

U.FL connector

GNSS (active) antenna connector

Power Supply

IC22

IC

Four-output switching regulator LP8758A1E0YFFR

IC31

IC

Four-output switching regulator LP8758A1E0YFFR

IC21

IC

Linear regulator LD39100PUR

IC26

IC

Linear regulator LD39100PUR

IC29

IC

Linear regulator LD39100PUR

IC32

IC

Linear regulator LD39100PUR

A more detailed description is provided in the following sections.